前不久,苹果发布了 iPhone 16 系列四款新机,而华为也不甘示弱,在同一天也发布了全球首款三折叠手机 Mate XT 非凡大师,华为的这款三折叠屏手机吸引了大量消费者的关注和预约。
不知道是不是受到华为三折叠新机的影响,根据最新消息,苹果的首款折叠屏 iPhone 发布时间似乎要提前了。
根据微博@手机晶片达人的爆料:“从富士康得到消息,苹果决定提前折叠 iPhone 进度。折叠机有一个关键零部件 hinge 铰链,这部分苹果需要很大的产能。”

根据多条证据显示,苹果公司原计划于2026年推出首款折叠屏iPhone,如果提前的话,折叠 iPhone 很有可能会在明年登场。
放眼整个手机圈,各大主流厂商都推出了折叠屏手机,然而,苹果作为科技行业的领军企业,至今尚未推出折叠屏iPhone。但苹果一直在做折叠屏的技术储备,多起与折叠屏有关的专利陆续被曝光。
苹果公司多年来一直在进行折叠屏技术的研发,并且已经获得了多项相关专利,包括减少屏幕折痕、提高耐用性、自我修复技术、新的触控操作等。这些技术的积累可能使苹果认为现在是推出折叠屏 iPhone 的合适时机
其中一项专利中,苹果公司通过填充聚合物材料以减少屏幕折痕,来提高屏幕的显示质量和耐用性;另外一项专利则是通过自我修复技术在屏幕上覆盖一层可“自愈”材料来延长折叠屏的寿命。


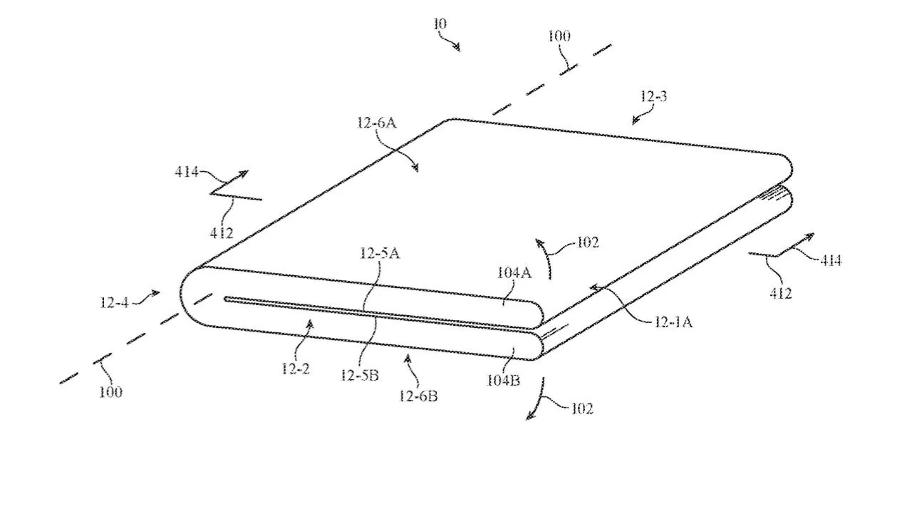
近日,苹果公司又一项新的专利曝光了。
根据美国商标和专利局(USPTO)最新公示,苹果公司获得了一项名为《带有显示屏和触摸传感器结构的电子设备》新专利,该专利展示了未来iPhone的设计方案,包括固态按钮在内在所有表面实现触敏控制。 用户可以通过轻触、滑动或其他方式来方便地控制 iPhone,其专利设计草图显示采用折叠式设计。
在传统触摸屏中,用户操作时可能遇到的手部遮挡问题,为了解决这一问题,苹果计划在设备的所有表面实现触敏控制,在设备表面铺设细小的金属线(例如纳米结构),这些金属线肉眼难以察觉,却能实现在任意表面的触控功能。

具体来说,苹果计划在设备的所有表面内置控制电路、电池及其他组件,设备的表面可以包含不透明部分与透明部分,材质包括不透明塑料、金属、纤维复合材料以及含有纤维、陶瓷和其他不透明材料的多层结构。

由此可见,苹果的目标是让屏幕尽可能无折痕,然而,苹果折叠iPhone的定价肯定不会太低,据网友泄露的信息显示,第一代可折叠iPhone的起售价或将高达2500美元(折合人民币1.8万元),价格有望与今年华为三折叠手机价格持平。
假如明年苹果折叠屏手机发布,你会买单吗?

